|
|
|
|
|
|
|
|
|
|
type
|
cap
|
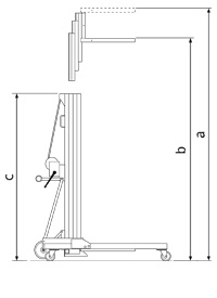
a
|
b
|
c
|
d
|
e
|
f
|
g
|
h
|
i
|
gewicht
|
|
LMC
280
|
250
|
2800
|
2420
|
1600
|
660
|
1455
|
760
|
1800
|
650
|
560
|
95
|
|
LMC
330
|
250
|
3300
|
2920
|
1886
|
660
|
1455
|
760
|
1800
|
650
|
560
|
105
|
|
LMC
380
|
250
|
3920
|
3530
|
1600
|
710
|
1455
|
760
|
1800
|
650
|
560
|
115
|
|
LMC
475
|
250
|
4760
|
4380
|
1886
|
710
|
1455
|
760
|
1800
|
650
|
560
|
125
|
|
LMC
300
|
300
|
3345
|
2955
|
1875
|
780
|
1585
|
760
|
1800
|
650
|
560
|
130
|
|
LMC
450
|
300
|
4780
|
4390
|
1875
|
835
|
1785
|
760
|
1800
|
650
|
560
|
146
|
|
LMC 600
|
300
|
6210
|
5280
|
1875
|
890
|
1785
|
760
|
1800
|
650
|
560
|
162
|
|
LM
400
|
300
|
3980
|
3590
|
2197
|
780
|
1585
|
760
|
1800
|
650
|
560
|
140
|
|
LM
575
|
300
|
5740
|
5350
|
2197
|
835
|
1785
|
760
|
1800
|
650
|
560
|
161
|
|
LM
750
|
300
|
7500
|
7110
|
2197
|
890
|
2005
|
760
|
1800
|
650
|
560
|
182
|
|
LH
400
|
300
|
3980
|
3590
|
2197
|
780
|
1585
|
760
|
1800
|
650
|
560
|
215
|
|
LH
575
|
300
|
5740
|
5350
|
2197
|
835
|
1785
|
760
|
1800
|
650
|
560
|
236
|
|
LH
750
|
300
|
7500
|
7110
|
2197
|
890
|
2005
|
760
|
1800
|
650
|
560
|
257
|
|
LHC
300
|
300
|
3345
|
2955
|
1875
|
780
|
1585
|
760
|
1800
|
650
|
560
|
205
|
|
LHC
450
|
300
|
4780
|
4390
|
1875
|
835
|
1785
|
760
|
1800
|
650
|
560
|
221
|
|
LHC 600
|
300
|
6210
|
5820
|
1875
|
890
|
1785
|
760
|
1800
|
650
|
560
|
237
|
|
LMX
500
|
500
|
4800
|
4350
|
1970
|
765
|
1610
|
760
|
1920
|
650
|
560
|
181
|
|
|
|
gewichten
in kg, maten in mm |
|
|
Voor
een printvriendelijke versie van deze informatie kan
u hier klikken.
(288 kB)
|
|
|
|
|
|
De
gebruikshandleiding kan u hier downloaden.
(918 kB)
|
|
|
|
|